NF3700 is used to measure the relative angular velocity, linear acceleration signal and velocity of the carrier in inertial space, as well as the signal of height, position and attitude.
This manual is applicable to the daily use and maintenance of NF3700 attitude instrument.
Part No, :
NF3700Order(MOQ) :
1Product Series and Parameters
| NF3700-A | NF3700-B | |
| Precision of search | ≤±0.3°RMS | ≤±0.5°RMS |
| Azimuth Resolution | 0.01° | |
| Repetitiveness | ≤±0.2° | |
| Time to seek the North | ≤5min | |
| Refresh Rate | 100Hz | |
| Operate Mode | Static State | |
| Power Supply Voltage | 24V(9~36VDC) | |
| Power Consumption | ≤15W(Peak≤20W) | |
| Weight | ≤1500g | |
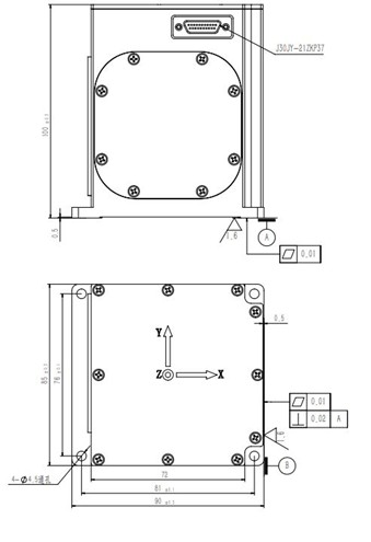
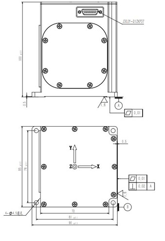
| Connector | J30JY-21ZKP37 | |
| Working Temperature | -20℃~+60℃ | |
| Storage Temperature | -40℃~+65℃ | |
| Mode of output | RS422 | |
| Shocking | 10g-20g 11ms | |
| Surface Treatment | Black anodizing | |
| Levels of protection | IP65 | |
Production process
Product dimension

Figure1: Product outline diagram
Application Scenarios



FAQ
Xml Privacy Policy Blog Sitemap
copyright @ Micro-Magic Inc All Rights Reserved.
Network Supported